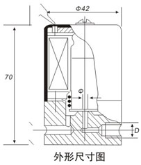
KXD-Ⅱ型电磁脉冲阀 该阀技术参数及特点与KXD型阀相同,所不同的是用连接螺栓来做脉冲阀背压室气体排放管。 它可保持电磁阀垂直位置,活动芯垂直上、下运动。减少贴心和弹簧磨损。延长阀的使用寿命、运行可靠、拆装方便,它可作为QMF-20P型、QMF-100型其他类型的脉冲阀的控制阀。 连接螺栓d值:M8×1、M8×1.25
冀公网安备 13098102000325号